Артикул:
AG1A01032B
Описание и схемы Пневматический захват с угловыми губами, диаметр поршня 32 мм
Угловые захваты — Ø10, 16, 20, 25, 32 мм
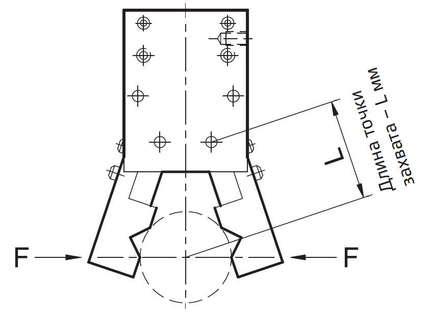
F: эффективная сила захвата, L: длина точки захвата, M: теоретическая удерживающая сила, P: давление, бар.
Примечание: сила захвата — это сила открывающегося и закрывающегося захвата, расстояние точки захватывания которого составляет 30 мм, а давление срабатывания равно 5 бар.


Характеристика силы захвата
Код для заказа
Особенности





Диапазон считывания
Сенсорный датчик закреплен на корпусе цилиндра. Головка магнитного поршня активирует сенсорный переключатель при его входе в диапазон рабочих режимов. Разность составляет 0,5 мм.
Диапазон рабочих режимов
При перемещении головки поршня настройка и регулировка датчика основывается на диапазоне срабатывания, генерируемом магнитным полем и переключателем (см. таблицу).
Порядок заказа
Пример заказа: двухжильный герконовый датчик с разделанным кабелем длиной 2 метра, прямой: AM080-0FL-04S
Особенности
- Подходит для захвата мелких деталей.
- Прочный корпус из анодированного алюминия.
- Компактная конструкция.
- С магнитом в поршне в стандартном исполнении.
Характеристики
|
Модель |
AG1A-10 |
AG1A-16 |
AG1A-20 |
AG1A-25 |
AG1A-32 |
|
|
Диаметр поршня |
Ø10 |
Ø16 |
Ø20 |
Ø25 |
Ø32 |
|
|
Размер отверстия |
M3x0,5 |
M5x0,8 | ||||
|
Среда |
Воздух |
|||||
|
Режим работы |
Двойное действие |
|||||
|
Диапазон давления |
1,5–7 бар |
|||||
|
Диапазон рабочей температуры |
от 0 до 60° C |
|||||
|
Макс. рабочая частота |
80 мин |
|||||
|
Смазывание |
Цилиндр |
Без смазывания |
||||
|
Секция рычага |
Требуется (нанесение смазочного масла) |
|||||
|
Теоретическая + удерживающая сила (M) бар |
Закрытая сторона |
0,16xP |
0,8xP |
1,7xP |
3,4xP |
6,1xP |
|
Открытая сторона |
0,26xP |
1,1xP |
2,3xP |
4,3xP |
8,1xP |
|
|
Длина максимальной точки захвата (L) мм |
30 | 40 | 60 | 70 | 85 | |
|
Эффективная сила захвата (F)* бар |
F = M / L x 0,85 |
|||||
|
Углы открытия/закрытия рычага |
-10…+30° |
|||||
|
Магнит |
С магнитом |
|||||
F: эффективная сила захвата, L: длина точки захвата, M: теоретическая удерживающая сила, P: давление, бар.
Принадлежности для угловых захватов
|
Цепь и схема соединения |
![]() |
![]() |
![]() |
|
Модель |
AM080 |
||
|
Диаметр поршня, мм |
10, 16, 20, 25, 32 |
||
|
Система проводки |
Двухжильный провод |
Трехжильный провод |
|
|
Коммутирующее напряжение |
DC: 5–120 В AC: 5–120 В |
DC: 5–30 В |
|
|
Максимальный ток |
100 мА макс. |
200 мА макс. |
|
|
Нагрузочная способность контакта |
6 Вт макс. |
6 Вт макс. |
|
|
Время задержки |
< 2 мс (500 Гц) |
Время задержки < 1 мс (500 Гц) |
|
|
Контакт |
Нормально открытый |
NPN. Приемка тока |
PNP. Подача тока |
|
Класс защиты |
IP67 |
||
|
Цвет светодиода |
Красный |
Красный |
Зеленый |
|
Кабель |
Ø2,8, проволочный кабель, 2M |
Ø3,3, трехжильный отдельный кабель, 2M |
|
|
Перепад напряжения |
3,5 В макс. |
макс. 1 В |
|
|
Потребляемое напряжение |
--- |
ВЫКЛ.: 7 мА (24 В) ВКЛ.: 8 мА (24 В) макс. |
|
|
Схема защиты контактов |
Отсутствует |
Да |
|
|
Рабочая температура |
от -10 до 70° C |
||
Режим работы и данные
|
Режим Тип |
Модель |
Диаметр поршня (мм) |
Минимальное рабочее давление (бар) |
Резьбовое отверстие (мм) |
Эффективная сила захвата кгс (Н) |
|
|
Плунжерный клапан |
AG1A-10 |
10 | 2,2 |
M3x0,5 — 4 шт |
Открытие |
0,3 (3,6) |
|
Закрытие |
0,2 (2,2) |
|||||
|
AG1A-16 |
16 | 1 |
M3x0,5 — 4 шт |
Открытие |
1,5 (15,2) |
|
|
Закрытие |
1,1 (11,1) |
|||||
|
AG1A-20 |
20 | 1 |
M4x0,7 — 4 шт |
Открытие |
3,2 (31,9) |
|
|
Закрытие |
2,4 (23,6) |
|||||
|
AG1A-25 |
25 | 1 |
M5x0,8 — 4 шт. |
Открытие |
6 (59,6) |
|
|
Закрытие |
4,8 (47,2) |
|||||
|
AG1A-32 |
32 | 1 |
M6x1,0 — 4 шт. |
Открытие |
11,4 (112,4) |
|
|
Закрытие |
8,6 (84,6) |
|||||
Примечание: сила захвата — это сила открывающегося и закрывающегося захвата, расстояние точки захватывания которого составляет 30 мм, а давление срабатывания равно 5 бар.
Основные размеры


|
Диаметр поршня(мм) |
A 0,01 -0,03 | B | C | D | E | F | G | H | I | J | K | L | M | N | O | P |
|
AG1A-10 |
7 | 3 | 6 | 10 | 7,5 | 19 |
M3x0,5P |
M3x0,5P |
2,2 | 1,8 | 14 |
-10…+30 |
18 | 20 | 30,5 | 36,5 |
|
AG1A-16 |
9 | 3 | 8 | 12 | 7,5 | 25,5 |
M5x0,8P |
M3x0,5P |
3 | 3 | 24 |
-10…+30 |
24 | 25,5 | 38 | 45.5 |
|
AG1A-20 |
12 | 4 | 10 | 13 | 8 | 28 |
M5x0,8P |
M4x0,7P |
3,5 | 3,5 | 30 |
-10…+30 |
30 | 28 | 42,5 | 53 |
|
AG1A-25 |
14 | 5 | 12 | 18 | 9 | 31 |
M5x0,8P |
M5x0,8P |
5 | 4 | 36 |
-10…+30 |
36 | 31,5 | 48,5 | 61 |
|
AG1A-32 |
18 | 6 | 14 | 24 | 10 | 33,5 |
M5x0,8P |
M6x1,0P |
5 | 5 | 42 |
-10…+30 |
44 | 37,5 | 54 | 68 |
|
Диаметр поршня (мм) |
Q | R | S | T | U | V |
0W |
X | Y | Z | AA | AB |
АС макс |
|
AG1A-10 |
M3x0,5Px7dp |
17 | 23 | 10 | 16 |
M3x0,5Px5dp |
11x1,3dp |
M3x0,5P |
15,7 | 21,7 | 10 | 15,5 | 2,5 |
|
AG1A-16 |
M4x0,7Px11dp |
26 | 34 | 14 | 22 |
M4x0,7Px7dp |
17x1,5dp |
M4x0,7P |
17,5 | 25 | 14 | 21 | 2,5 |
|
AG1A-20 |
M5x0,8Px13dp |
35 | 45 | 16 | 26 |
M5x0,8Px8dp |
21x1,5dP, |
M5x0,8P |
22 | 32,5 | 16 | 22 | 2,5 |
|
AG1A-25 |
M6x1,0Px16dp |
40 | 52 | 20 | 23 |
M6x1,0Px10dp |
26x1,5dP |
M6x1,0P |
26 | 38,5 | 20 | 24,5 | 2,5 |
|
AG1A-32 |
M6x1,0Px16dpV |
46 | 60 | 26 | 40 |
M6x1,0Px10dp |
34x2,0dp |
M6x1,0P |
30 | 44 | 26 | 30 | 2,5 |
Вид монтажа
|
1. Использование резьбы в нижней части |
2. Использование резьбы на боковой стороне корпуса |
![]() |
![]() |
Характеристика силы захвата
| AG1A-10 | AG1A-16 |
AG1A-20 |
![]() |
![]() |
![]() |
|
AG1A-25 |
AG1A-32 |
|
![]() |
![]() |
|
Код для заказа
![]() |
|
|
||
|
Поршень, Ø (мм) |
Виды монтажа |
|||
|
010 016 020 025 032 |
- Ø10 - Ø16 - Ø20 - Ø25 - Ø32 |
B |
- Basic |
|
Принадлежности для угловых захватов. Магнитный датчик — AM080
Особенности
- Встроенный светодиодный индикатор.
- Литой кабель с разделанным выводом и быстроразъемным соединителем (QD).
- Прямой монтаж, простота установки.
- Варианты исполнения с язычковым магнитоуправляемым контактом и без контакта.
Функция
Поршни данных цилиндров оснащены постоянным магнитом, который активирует выключатели цилиндра при приближении к ним. После этого соответствующий переключатель подает электрический или пневматический сигнал.AM080


Монтаж и расположение датчика положения

Настройка датчика и диапазон рабочих режимов

Разность срабатывания и регулируемое расположение

Диапазон считывания
Сенсорный датчик закреплен на корпусе цилиндра. Головка магнитного поршня активирует сенсорный переключатель при его входе в диапазон рабочих режимов. Разность составляет 0,5 мм.
Диапазон рабочих режимов
При перемещении головки поршня настройка и регулировка датчика основывается на диапазоне срабатывания, генерируемом магнитным полем и переключателем (см. таблицу).
|
Модель |
AM080 |
|
|
Диаметр поршня |
Диапазон рабочих режимов (F) |
Разность срабатывания (R) |
|
Ø10 |
3 | 1 |
|
Ø16 |
5 | 1 |
|
Ø20 |
8,5 | 1 |
|
Ø25 |
10 | 1,8 |
|
Ø32 |
10 | 2 |
Порядок заказа
— |
|
|
|
|
Тип переключателя |
Концевое соединение |
Тип соединения |
|
|
0 — двухжильный герконовый датчик 2 — беспроводной датчик, подача тока (PNP) 3 — беспроводной, приемка тока (NPN) |
FL-04 (разделанный вывод с кабелем длиной 2 метра) QD-02 (быстроразъемный соединитель с кабелем длиной 300 мм) |
S — прямой L — угловой |
|
Артикул
|
AG1A01032B |
|
Страна производтва
|
ИНДИЯ |
|
Серия цилиндра
|
AG1A |
|
Форма цилиндра
|
Угловой захват |
|
Диаметр поршня, мм
|
32 |
|
Производитель
|
JANATICS INDIA PRIVATE LIMITED |
|
Магнит
|
Да |
Оплатить заказ можно только от юридического лица, получив счет на оплату оборудования.












—